Конспект лекции: Цифровое измерение переменных напряжений
Переменное напряжение характеризуется амплитудным, средним и действительным значениями. При измерении используются 3 способа:
- 1) предварительное выпрямление;
- 2) функциональное преобразование;
- 3) запоминание.
В случае предварительного выпрямления в ЦИУ используются выпрямители, фильтры и опорные элементы. При этом можно получить погрешность порядка 0,01%, но быстродействие измерения при этом составляет 1-10 с.
В случае функционального преобразования измеряемое напряжение сравнивается либо с дискретно изменяющимся постоянным напряжением, либо дискретно изменяющимся переменным напряжением той же формы и частоты.
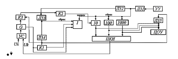
В случае способа запоминания амплитуда измеряемого напряжения запоминает ОЗУ и затем преобразует в код в ЦИУ постоянного напряжения.При измерении амплитудно-импульсного напряжения используется либо запоминающее, либо АЦП амплитудного уровня с функцией понижения напряжения. Для этого применяется уравновешивание только по положительным приращениям, либо специальные устройства для определения знака производной от измеряемого напряжения. Схема амплитудного цифрового вольтметра имеет вид:
Устройство управления УУ посылает сигнал, проходящий через цепочку линий задержки (Л31-Л35), определяющую последовательность работы узлов прибора во времени. Сигнал от устройства управления (УУ) после прохождения линии задержки (Л31) приводит счетчик в исходное состояние, т.е. сбрасывает декады 10, 100, 1000 и запускает декаду 1, считывающую импульсы от 1 до 9 от генератора (G). Генератор запускается от устройства сравнения (УС) только при Ux>Uk и прекращает генерацию при Ux
Внимание! Каждый электронный конспект лекций является интеллектуальной собственностью своего автора и опубликован на сайте исключительно в ознакомительных целях.
